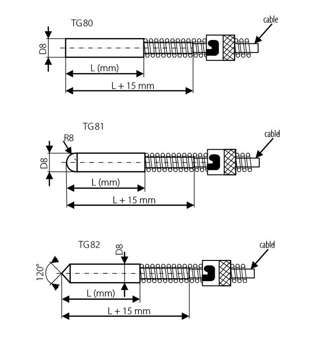
Sensit серія датчика температури TG80 з байонетом та пружиною, TC J, TC K, TC T, Ø8 mm, довжиною від 10 до 85 mm, -50 °C до +350 °C, IP 50, 1m
- Опис
- Задати питання
-
Байонетний датчик температури з пружиною та прямим торцем від -50 °C до 350 °C, діаметр вимірювальної частини 8 мм, довжиною від 10 до 85 мм, з нержавіючої сталі, Sensit TG80
Temperature sensors with bayonet mount
Цей датчик температури в основному призначений для вимірювання температури твердих речовин, але також можуть бути використані для вимірювання температури рідин або газоподібних речовин. Для кріплення датчика до вимірювальної точки використовується байонетна гайка, яка прикручується до пружини. Поєднання байонетної гайки, пружини та відповідного байонетного роз'єму може забезпечити більш високий контактний тиск датчика до точки вимірювання або виправити будь-які зміни відстані між гайкою та точкою вимірювання під час вимірювання. Максимальний діапазон температур датчиків становить від -50 до 350 °C (короткочасні 400 °C). Діапазон індивідуальних варіацій конструкції звужується за типом датчика температури та кабелем, що застосовується. Датчики відповідають рівню захисту від IP 50 згідно з EN 60529 із змінами, внесеними залежно від типу вхідного кабелю. Датчики призначені для роботи в неагресивному середовищі. Спосіб використання слід вибирати з урахуванням температури та хімічної стійкості корпусу та кабелю, що застосовується.
Датчик може конфігуруватись по типу чутливого елемента TC K, TC J, TC T, (характеристики сенсорів докладніше тут), довжині та ізоляційній оболонки кабелю.
Модифікації:
- Можливість конфігурування двома чутливими елементами;
- Можливість конфігурування нестандартними типами чутливих елементів (DALLAS, TSiC, KTY, SMT тощо);
- Додаткова конструкція розмірів корпусу в перерахунку на: діаметр від 8 до 10 мм, довжина L, матеріал корпусу, конструкція торця корпусу;
- Можливість три- або чотирипровідного підключення.
- Конфігурація по довжині пружини.
Характеристики
Тип пристрою Термопара K, Термопара J, Термопара T, Термопара S Вимірювання Температура Тип чутливого елемента TC K, TC J, TC T Виконання / Тип З байонетом Довжина кабелю датчика стандартно 1 метр Діапазон вимірювання температури -50 до +350 °C Матеріал корпусу нержавіюча сталь DIN 1.4301 Діаметр корпусу Ø8 мм Довжина корпусу від 10 до 85 мм + 15 мм Матеріал / розмір байонетної гайки нікельована латунь / L=18 мм, внутрішній ø 15 мм Матеріал / розмір пружини нержавіюча сталь DIN 1.4301, 200 мм Торець сенсора прямий Кабель згідно технічному опису - Можливість конфігурування двома чутливими елементами;
-
Ви можете поставити будь-яке питання по товару або роботі компанії.
Наші кваліфіковані фахівці обов'язково вам допоможуть.














































